Vous n'êtes pas identifié.
Pages: 1
Réponse : 0 / Vues : 1 323
Problème bien connu des utilisateurs de la PS4, le système de refroidissement de la dernière console en date de Sony est le sujet de nombreuses blagues et moqueries depuis sa sortie. Pour cause, entre le bruit assourdissant qu'elle génère et la température bien trop élevée qu'elle atteint malgré ses efforts, il faut bien reconnaître qu'il ne s'agit pas là du point fort de la console. Cependant, Sony pourrait bien avoir trouvé la solution pour la PS5.
Un intriguant brevet.
En effet, un nouveau brevet a été déposé par Sony le 13 août 2020. Celui-ci porte sur un système de refroidissement liant une puce semi-conductrice et un radiateur thermique via un matériau thermoconducteur fluide, permettant à terme une meilleure redistribution de la chaleur de la puce vers le radiateur, ce qui devrait soulager les composants fragiles et primordiaux de la console.
La description du brevet est la suivante :
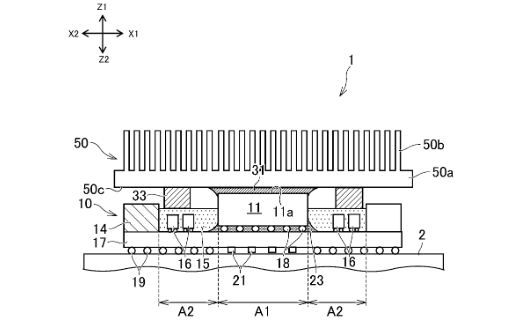
La présente invention concerne une structure dans laquelle un métal fluide est utilisé comme matériau thermoconducteur. Dans cette structure, un matériau thermoconducteur ne peut pas pénétrer dans une région non souhaitée même lorsqu'un changement de position d'un dispositif à semi-conducteur ou une vibration se produit. Cet appareil électronique comprend un matériau thermoconducteur (31) formé entre un radiateur thermique (50) et une puce semi-conductrice (11). Le matériau thermoconducteur (31) présente une fluidité au moins lorsque la puce à semi-conducteur (11) est en fonctionnement. Le matériau thermoconducteur (31) a une électro-conductivité. Le matériau thermoconducteur (31) est entouré par un élément d'étanchéité (33). Un condensateur (16) est recouvert par une section isolante (15).
Bien sûr, de tels brevets sont légions et rares sont ceux qui aboutissent réellement. Mais son existence prouve que Sony a bien travaillé sur de nouveaux systèmes de refroidissement, signe encourageant pour la prochaine console du groupe. Par ailleurs, la grande taille de la PS5 aurait un lien à jouer avec la ventilation de la console. D'autant que le constructeur a déjà, par le passé, indiqué avoir "un gros effort" vis à vis du bruit de la console.



Réponse : 0 / Vues : 1 323
Pages: 1