Vous n'êtes pas identifié.
Pages: 1
Réponse : 1 / Vues : 3 592
Régulièrement, Sony dépose différents brevets, évaluant la possibilité d'intégrer différentes fonctionnalités à ses consoles. Des technologies et des idées qui ne voient souvent jamais le jour, mais qui prouvent que le géant japonais continue de tenter d'innover. Voilà que récemment, un nouveau brevet permettrait tout simplement aux joueurs d'exclure un autre joueur d'une partie moyennant de l'argent.
Un nouveau brevet signé Sony.
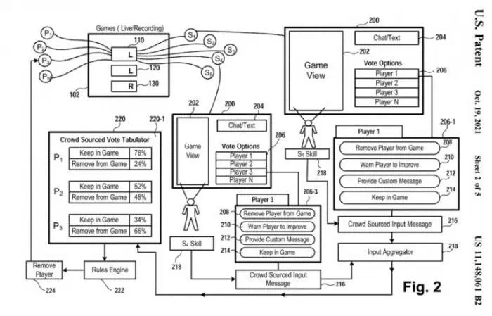
Plus tôt cette année, un brevet déposé par Sony se présentait sous la forme d'une plateforme de paris en ligne intégrée à la PS5. Une idée liée au rachat de l'Evolution Championship Series (EVO) par le géant japonais en mars dernier. Sony se lance donc sérieusement dans l'e-sport, reste à savoir de quelle manière ses récentes acquisitions seront exploitées. Dans la même veine, voilà qu'un nouveau brevet déposé en janvier 2020 vient d'être accepté. Un brevet intitulé "Spectators Vote to Bench Players in a Video Game" ou "Les spectateurs votent pour exclure des joueurs dans un jeu vidéo".
Une technologie qui permettrait aux spectateurs de partie de retirer des joueurs, de leur envoyer des messages pour leur demander de mieux jouer ou même tout simplement payer pour les exclure. Selon le schéma visible juste au-dessus, les spectateurs auraient accès à un menu via lequel ils pourraient ainsi voter pour un joueur en particulier. Quatre options s'offrent alors à lui : "retirer le joueur du jeu", "avertir le joueur pour qu'il s'améliore", "fournir un message personnalisé" ou "garder en jeu". Le système cumule ensuite les votes jusqu'à un certain palier et si ce dernier est atteint, le joueur est retiré de la partie.
L'e-sport en ligne de mire ?
Pour pimenter la chose et surtout apporter davantage de spectacle, Sony explique que "la méthode peut également inclure l'animation du retrait du joueur et la fourniture d'indices visuels aux autres joueurs ou aux spectateurs sur la raison pour laquelle le joueur a été retiré du jeu vidéo". Mieux encore, les spectateurs n'auraient pas le même poids en fonction de leurs niveaux respectifs dans le calcul des votes. Les joueurs les plus importants pèseraient alors davantage dans la balance.
Mais une fonction sort du lot, celle via laquelle les spectateurs peuvent payer pour voir un joueur exclu. Deux options s'offrent aux spectateurs : payer avec de l'argent réel ou avec de l'argent virtuel. Là encore, plusieurs déclinaisons sont possibles. L'intéressé peut payer un prix "fixe", le "pourcentage d'un prix fixe" ou encore "enchérir dans une vente aux enchères". Une technologie qui semble davantage se destiner à un show amical et sans véritable conséquence qu'un gros tournoi compétitif. Néanmoins, la partie concernant les messages d'encouragement et les votes pourrait être adaptée dans l'e-sport.



Réponse : 1 / Vues : 3 592
Pages: 1